“Has someone invented heroin yet? Because if not, we should get a patent on that stuff.”
~Kurt Cobain
America likes putting time and effort into overly elaborate solutions to simple problems. A common belief is that NASA spent over a million dollars researching a pen that could work in space, while the Russians solved the same issue by using a pencil. Apparently, that is utter bullshit, and a pen for use in space was made independently by a company hoping to cash in on a “space-worthy pen” while American astronauts still used pencils. The pen was only adopted because the lead in pencils occasionally would snap off and could cause mechanical problems inside the ship.
“THEY’LL CLOG THE INSTRUMENTS!”
But don’t let this common myth fool you, America still likes to go about things the long, hard, incredibly complicated and expensive way. For example, when America had a series of Fruit Flies ruining crops, how did we handle that? Pesticide? Hell no. Large bug zappers? Get that out of our face. No, America decided to research fruit flies to learn that their females only mate once in their lifespan, so they sterilized 45 million male fruit flies, doused them with pheromones, and set them loose to fire blanks at all the female fruit flies in the area. That’s right, of all the solutions out there, America decided to actively neuter 45 million insects, make them sex crazy, and just let them go at all the female fruit flies. That is not only insane, that is Americanly insane. And we absolutely love it.
That’s why, we at AFFotD are going to show you some of the greatest American inventions that are absolutely useless. Because nothing says “American” like wasting the time and money of dozens of people to create a product that no one needs.
Unfortunately for people living in log cabins out in forest preserves, America is a social culture. We often require someone else’s assistance to get us through our everyday hazards, like riding tandem bicycles, or receiving the Heimlich Maneuver. And some Americans would prefer to be anti-social. If only there were a way to do something by yourself that you otherwise would need someone else to do for you. Something like…
Is that…yes, that is a crank you can use to kick your own ass. Let’s just take a moment and think about the logistics that lead to the creation of this invention. Not only did someone think, “Hmm, I like the feeling of a boot crashing into my ass, but I hate having to spend all the money on the types of prostitutes who are willing to do that sort of stuff.” So not only did he develop a crank shaft (heh) that would allow himself to kick his own as (…heh?) but the man who came up with this idea was worried about someone else stealing this idea from him. That is so insane that the collective cast of One Flew Over the Cuckoos Nest just got upset at it for presenting a falsely negative impression of how mental illness is treated in this country. Someone had to meticulously draw this picture, all the while thinking, “Yeah, we gotta make sure this doesn’t fall into the wrong hands” and that picture had to be sent over to a patent agent, who had to look this over and say, “Well, no one has come up with this idea before, approved.” We’re not entirely sure if the fact that this exists enthralls us or devastates us, so we’re going to go with “both.” It enthrallastates us.
While some inventions can show us what the inventor prefers in the, ahem, bedroom, some others show how deep down in every American, there is a tiny James Bond villain.
“Oh, I don’t get it AFFotD, that just looks like a funny looking trumpet,” yeah, well this obviously is more than an ordinary trumpet. This. Is. A flame-throwing trumpet. Someone saw Louie Armstrong playing trumpet and thought, “The only thing that would make this better would be if it were able to actively repel Frankenstein,” and voila! Brilliant! What’s next, a way to terrify widows by allowing them to watch their recently departed loved ones slowly decompose in real time?
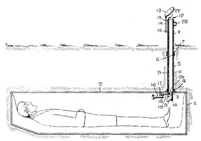
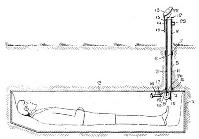
….oh. We shouldn’t go terrifyingly specific unless we want American gadgetry to back that up. That’s…a burial periscope. We’re not sure which of these two hypothetical mindsets would be worse reasons for this invention, so we’ll let you vote.
AFFotD Presents: Which Explanation of a Grave Periscope Invention Offends Your Sensibilities the Most!
A: “Gee, nothing will make us feel closer to our loved ones like watching how they slowly decompose into an unrecognizable horror”
Or
B: “Dammit, we paid good money for this coffin, we’re going to let people know it!”
Yeah, you’re right. Probably B. But you know what’ll offend your sensibilities even more? How about a mix between child birth and the “Cajun Cliffhanger” centrifugal force rides at Six Flags Great America?
Oh Jesus Christ. This machine was supposed to…spin the mother around as she gave birth. This looks like something Wile E. Coyote would travel back in time and invent in order to prevent the Road Runner from being born. This Machine severely underestimates America’s love of their own children, since the inventor of this machine decided that doctors should go up to pregnant women and say, “How would you like to spin that baby out of there?”
That’s right, this machine is supposed to spin the woman around, and let the baby just fly out of there. Don’t worry, there’s a net underneath to catch the slippery sucker.
Really, there’s so many absurd inventions in America, it would be foolish for us to list them all. Oh, we’ll list more on later dates, but for now, at least take solace in knowing that, when you begin construction of your nefarious America lair, just know it is American for you to purchase all of these items. Except that baby spinning thing. That actually freaks us out. Jesus…





Pingback: Reading Digest: Children’s Art & Crossover Edition « Dead Homer Society
Pingback: America Fun Fact of the Day July 31st- July 31st in American History | affotd
Pingback: More Insane American Patents | affotd
Pingback: More of America’s Even Crazier Patents | affotd